Oprawa PANEL COMFORT 600 P 33W 840 PS
| Informacja | Wartość | 
|---|---|
| Dostawca | LEDVANCE Sp z o.o | 
| Symbol | 4099854014888 | 
| Kod GTIN (EAN) | 4099854014888 | 
| Jednostka | sztuka | 
| Cena katalogowa | 529,50 zł (430,49 zł + 23% VAT) | 
                    Podane ceny nie stanowią oferty w rozumieniu kodeksu cywilnego. Ceny zakupu danego towaru mogą się różnić od wyświetlonych.                
                
                                    Opis
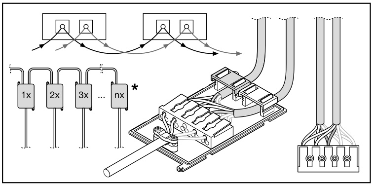
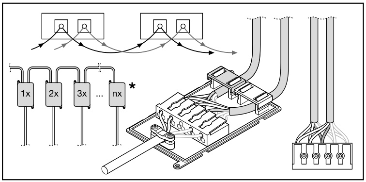
                            Kwadratowe oprawy panelowe do wbudowania z funkcją Power Select (PS), do systemów sufitowych 600 x 600 mm. Cechy produktu: Rama z wytłaczanego aluminium. Dyfuzor z polistyrenu. 5-biegunowa listwa zaciskowa, przekrój przewodu do 5 x 2,5 mm². Dostępne wersje opraw ze sterownikiem DALI-2 obsługującym IoT. Trwałość (L80/B10): 70 000 h (przy 25°C). Zalety produktu: Wysoce wszechstronny dzięki wybieranym stopniom mocy (Power Select - PS) na sterowniku. Instalacja elektryczna bez użycia narzędzi za pomocą wtyków. Możliwe wewnętrzne okablowanie dzięki dostarczonej w zestawie puszce podłączeniowej. Oszczędność energii dzięki wysokiej skuteczności świetlnej systemu: do 130 lm/W. Wysoka jednorodność barw dzięki SDCM 3. W przypadku wersji DALI możliwe są opcje rozszerzone, takie jak monitorowanie zużycia energii i zdalna konserwacja. Zewnętrzny zasilacz zwiększa uniwersalność i zapewnia łatwą instalację. Niewielkie tętnienie światła dzięki specjalnemu statecznikowi elektronicznemu. Funkcja oświetlenia awaryjnego dzięki układowi konwersji na oświetlenie awaryjne firmy LEDVANCE. 5-letnia gwarancja. Obszary zastosowań: Bezpośredni zamiennik opraw świetlówkowych. Biura, sale konferencyjne. Recepcje, hole, korytarze, windy. Odpowiednie oprawy do zabudowy w suficie, moduł 600 x 600 mm. Wyposażenie / Akcesoria: Dostępne są akcesoria do kilku typów montażu. Puszka podłączeniowa ze złączem 5-stykowym (w zestawie). Linka zabezpieczająca oprawę oświetleniową w zestawie. Wstępnie zainstalowane wsporniki zabezpieczające. Stateczniki zewnętrzne w zestawie. Nadaje się do użytku z Emergency Conversion Box.
                        
                    Cechy dodatkowe
| Informacja | Wartość | 
|---|---|
| Waga netto: | 1,6 kg | 
| Kraj pochodzenia | Chiny | 
| Klasa ETIM: | Oprawa ścienna/sufitowa | 
| Przystosowane do zawieszenia: | tak | 
| Do montażu sufitowego: | tak | 
| Do montażu wbudowanego: | tak | 
| Do montażu natynkowego: | tak | 
| Przystosowane do tworzenia linii świetlnych: | nie | 
| Do stanowisk pracy z monitorami wg EN 12464-1: | nie | 
| Zawiera źródło światła: | tak | 
| Materiał obudowy: | Stal | 
| Zabezpieczenie powierzchni obudowy: | Malowanie proszkowe | 
| Kolor obudowy: | Biały | 
| Rodzaj rastra: | Matowy | 
| Rodzaj napięcia: | AC | 
| Napięcie znamionowe: | 220 - 240 V | 
| Prąd znamionowy: | 150 - 150 mA | 
| Ze statecznikiem: | tak | 
| Osprzęt wymienny: | tak | 
| Ściemniacz 0-10 V: | nie | 
| Ściemniacz 1-10 V: | nie | 
| Ściemniacz DALI-2: | nie | 
| Ściemniacz DALI: | nie | 
| Ściemniacz DMX: | nie | 
| Ściemniacz DSI: | nie | 
| Potencjometr ściemniacza (zintegrowany): | nie | 
| Ściemniacz LineSwitch: | nie | 
| Ściemniacz systemowy producenta: | nie | 
| Ściemniacz PWM: | nie | 
| Do ściemniaczy z obciążeniem pojemnościowym: | nie | 
| Do ściemniaczy z obciążeniem indukcyjnym: | nie | 
| Ściemniacz programowalny: | nie | 
| Ściemniacz RF: | nie | 
| Ściemniacz triakowy: | nie | 
| Do ściemniaczy Touch and Dim: | nie | 
| Do ściemniaczy Zigbee: | nie | 
| Ściemniacz z przyciskiem: | nie | 
| Bez funkcji ściemniania: | tak | 
| Rodzaj dyfuzora światła: | Soczewka / układ optyczny / panel | 
| Kąt rozsyłu światła: | Wiązka wielokierunkowa/rozproszona | 
| Tolerancja temperatury barwowej (elipsa McAdama): | SDCM3 | 
| Rozsył światła: | Bezpośredni | 
| Żywotność znamionowa L70/B50 przy 25°C: | 100 000 h | 
| Maks. liczba opraw na wyłącznik nadprądowy B16: | 14 | 
| Stopień ochrony (IP): | IP40 | 
| Odporność udarowa: | IK02 | 
| Klasa ochronności: | II | 
| Znamionowa temperatura otoczenia wg IEC62722-2-1: | -10 - 50 °C | 
| Do oświetlenia awaryjnego: | tak | 
| Zintegrowane zasilanie awaryjne: | nie | 
| Z czujnikiem ruchu: | nie | 
| Z czujnikiem światła: | nie | 
| Możliwość pokrycia oprawy materiałem termoizolacyjnym: | nie | 
| Ze szczelinami wentylacyjnymi: | nie | 
| Maksymalna moc zestawu: | 33 W | 
| Skuteczność świetlna oprawy: | 130 lm/W | 
| Strumień świetlny wg IEC 62722-2-1: | 4 320 lm | 
| Barwa światła: | Biały | 
| Temperatura barwowa: | 4 000 - 4 000 K | 
| Wskaźnik oddawania barw (CRI): | 80-89 | 
| System kontroli stałego strumienia świetlnego (CLO): | nie | 
| Szerokość: | 595 mm | 
| Wysokość/głębokość: | 32 mm | 
| Długość: | 595 mm | 
| Długość wbudowania: | 575 mm | 
| Szerokość wbudowania: | 575 mm | 
| Wysokość/głębokość wbudowania: | 50 mm | 
| Rodzaj okablowania: | Do okablowania przelotowego | 
| Liczba biegunów: | 2 | 
| Typ połączenia: | Wtyk samozaciskowy | 
| Bezpieczeństwo fotobiologiczne zgodnie z EN 62471: | RG0 | 
| Wiele barw: | Nie | 
| Wiele poziomów strumienia świetlnego: | Krokowo | 
| Wiele szerokości wiązki światła: | Nie | 
| Obsługa przez bluetooth: | nie | 
| Kompatybilny z Apple HomeKit: | nie | 
| Kompatybilny z Asystentem Google: | nie | 
| Kompatybilny z Amazon Alexa: | nie | 
| Z obsługą IFTTT: | tak | 
| Oprawa o ograniczonej temperaturze obudowy „D” zgodnie z EN 60598-2-24: | nie | 
| Współczynnik mocy: | 0,9 | 
| Montaż ścienny: | nie | 
| Klasa efektywności energetycznej źródła światła zgodnie z UE 2019/2015: | D | 
| Kompatybilny z Casambi: | nie | 
| Spełnia min. kryterium trwałości użytk. EIA L90 (przy 50 000 godzin w tq = 25°C): | nie | 
| Podział światła: | Symetryczny | 
| Badanie rozżarzonym drutem, zgodnie z IEC 60695-2-11: | 650°C - 30 s | 
                Niestety ten towar nie jest dostępny w magazynie żadnej hurtowni grupy EL-Plus. Możesz jednak skontaktować się z wybraną przez Siebie hurtownią i go zamówić.             
            Zamów
                    Hurtownia
                
                
                    Adres                
                
                    Odległość                
                
                        
                            Akcje                        
                
            Informacje dodatkowe
| Informacja | Wartość | 
|---|---|
| Producent lub importer bądź podmiot odpowiedzialny w UE | LEDVANCE GmbH Parkring 29-33, 85748 Garching, Niemcy 
								tel: +4989780673100								                                        mail: InfoPL@ledvance.com
																		                             | 
| Bezpieczeństwo towaru | Dostawca zapewnia o bezpieczeństwie oferowanego produktu | 
| Zaktualizowano: | 2025-08-28 16:38:09 | 
| Pliki do pobrania: | 
 | 
| Linki | 
 
                             
                             
                             
                             
                             
                             
                             
     
                             
                             
										                                         
                                 
                                 
                                